
Описание продукта
Якорь для труб — это устройство, используемое для закрепления нефтяных труб или трубопроводов, обычно применяемое в нефтегазовой промышленности. Его основная функция — предотвращение смещения или падения труб во время установки, использования или обслуживания, обеспечение устойчивости и безопасности нефтяной трубы. Предотвращение ползучести труб, снижение разгерметизации пакера, выхода из строя колонны и потери хода насоса, вызванные ползучестью труб.
Основные типы анкеров для нефтяных труб
Механический анкер для труб — фиксирует трубу внутри обсадной колонны или ствола скважины с помощью механических устройств, таких как зажимы, пружины и т. д. Обычные механические анкеры для труб включают анкеры для компрессионных труб и анкеры для натяжных труб.
Назначение: Соединяется с нижней частью пакера, служит нижней точкой опоры для колонны труб, используется для установки пакера Преодоление направленной вниз тяги, создаваемой верхним давлением пакера. Отложение парафина жесткое. Тяжелые и мертвые нефтяные скважины не подходят для использования.
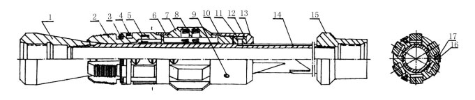
1. Конус 2. Кава 3. Пружина обруча 4. Верхнее ограничительное кольцо 5. Внутренняя пружина давления 6. Нижнее ограничительное кольцо 7. Фрикционный блок 8. Внешняя пружина давления 9. Винт, препятствующий ослаблению 10. Выпрямляющее седло 11- Штифт контактного кольца 12- Контактное кольцо 13- Опорное кольцо 14- Центральная труба 15- Нижнее соединение 16- Фиксированный винт 17- Прокладка
2. Якорь для гидравлической масляной трубы
- Закрепите масляную трубу с помощью гидравлических принципов. Якоря для гидравлической масляной трубы обычно фиксируются гидравлическими цилиндрами или поршнями и подходят для высокого давления или сложных рабочих условий.
Он в основном состоит из следующих частей: верхний шарнир, скользящий узел, центральная труба, поршень, запирающее устройство, нижний шарнир и т. д. Нажмите на зажим, чтобы выдвинуть, заблокируйте запирающий механизм, закрепите колонну трубы и поднимите колонну трубы при отпускании зажима.
ADD:Комната 616, Fortune Plaza, Yungang Road, Авиационная экономическая зона
PHONE:+86 156 1779 7655
TEL:+86 371 85304855